VF 48.2 Fixed-Angle Biosafe Rotor, 48 x 2 mL, 13,500 rpm, 20,412 x g

Product No:C63136

Support micro-volume protocols with the BioSafe 48 x 2mL Fixed Angle Rotor for the Allegra V-15R.
Designed to centrifuge up to 48 x 2 mL tubes. This rotor develops centrifugal forces that can efficiently pellet subcellular organelles, viruses, bacteria, mitochondria, chloroplasts, or algae. Up to 96 mL of sample volume can be centrifuged per run.

Especificações

Rotor Type Fixed-Angle
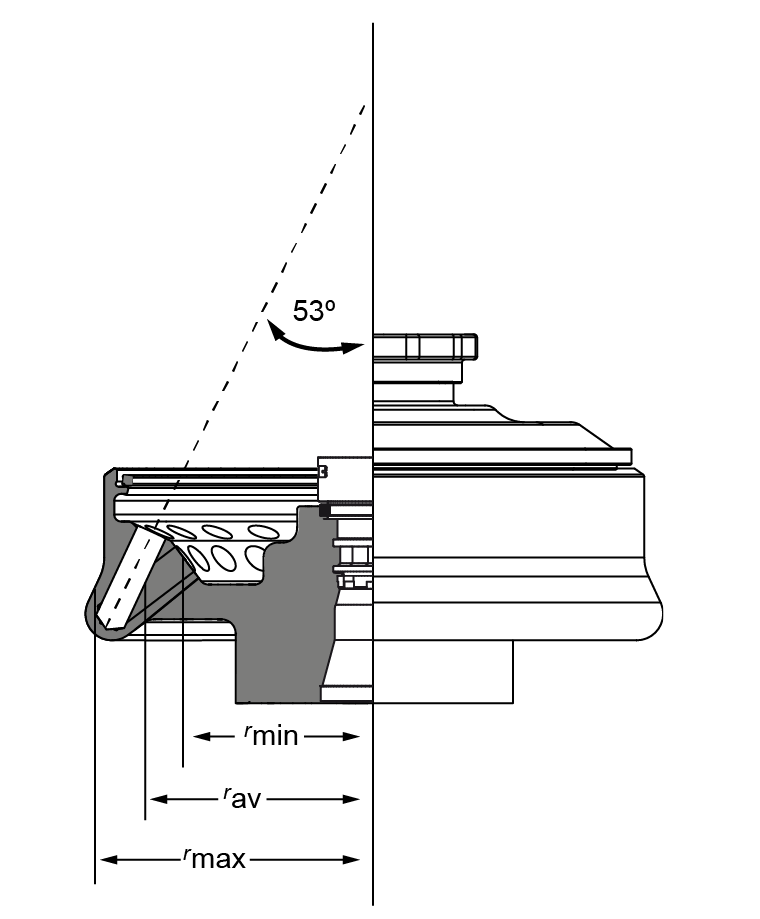
Angle 25° (Outer Row) | 53° (Inner Row)
Maximum RPM 13,500 rpm
k-Factor 418 (Outer Row), 598 (Inner Row)
Number of Tubes 48 x 1.5-2 mL x 48 x 0.2-0.5 mL
Nominal Capacity 96mL
rMAX 100
rMIN 74
rAV 87 mm
BioSafe Yes
Materials Anodized Aluminum
Item Specifications Referenced C63136